
一、产品概述

GY系列节流件孔板流量计是将标准孔板与多参数差压变送器(或差压变送器、温度变送器及压力变送器)配套组成的高量程比差压流量装置,可测量气体、蒸汽、液体及引的流量,广泛应用于石油、化工、冶金、电力、供热、供水等领域的过程控制和测量。节流装置又称为差压式流量计,是由一次检测件(节流件)和二次装置(差压变送器和流量显示仪)组成广泛应用于气体。蒸汽和液体的流量测量。具有结构简单,维修方便,性能稳定

二、工作原理
节流装置测量流量的原理是依据著名的伯努力流体力学原理。在管道中安放一只节流件,有流体流过节流件时,会在节流件两侧产生一个压力差(差压P),这时的流量与差压的平方根成正比。
三、用途、特点及适用范围
1、用途:节流式差压流量计由三部分组成:节流装置、差压变送器和流量积算仪。节流装置是直接安装于管道上的一次元件,差压变送器和积算仪属于二次元件。它主要用于流经管道各种气体(纯净的或含粉尘的)、蒸汽(饱和或过热)和液体(导电或不导电;强腐蚀性;粘稠或含有微小颗粒脏污)流量。可直接测量体积流量或质量流量。
2、差压式流量计(标准孔板)的使用条件、特点及适用范围
a、使用条件:
1、在测量段,流体必须充满圆管,并连续不断地流经节流装置;
2、流体在物理上和热力学上必须是均匀的单相流体;
3、节流装置所测得流体必须是稳定流,或可看作是稳定的缓慢变化的流体,不适用于脉动流和临界的流量测量;
b、特点及适用范围:
1、标准节流装置无须实流标定即可保证其测量精度。(在所有流量计中是唯一的);
2、适用被测介质非常广泛,几乎可用于所有气体、蒸汽和液体的流量测量;
3、适用直径比β为0.22~0.75,雷诺数ReD≥5000 管道直径DN50~1000mm,允许外推到5000mm。β=d/D,d—孔板开孔直径;D—管道实际内径
4、使用压力可高达32MPa,也可用于负压;
5、介质温度范围:-30℃~+650℃;
6、智能型差压式流量计采用智能差压变送器,可根据被测对象流量的变化,通过按键或通讯方式现场设定差压值(规定范围内),从而改变流量范围,使系统流量范围度大大拓宽;
7、无可动部件,机构安全可靠,使用、操作简单、易掌握,免维修;
根据中华人民共和国国家标准GB/T2624-93 和国际标准ISO5167-1 规定,节流装置适用的流量量程比为3(即最大与最小适用流量之比),在个别情况下允许量程比为4,如果量程比大于上述值,则在使用同一台差压计时在小流量时的测量误差很大。
四、分类及结构简图
1、分类
①按法兰夹装方式分类
1、焊接式 2、法兰夹装式
②按取压方式分类
1、角接钻孔取压; 2、角接环室取压 3、法兰取压; 4、径距取压;
2、结构及简图
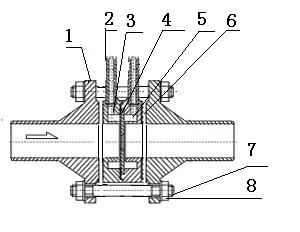
① 图 1标准环室孔板节流装置结构图
1、法兰 2、导压管 3、前环室 4、节流件 5、后环室 6、密封垫片 7、螺栓 8、螺母
图1 标准环室孔板结构图
五、结构及简图
一、各种标准孔板结构,见图2
图2
六、产品选型
| 型号 | 型谱说明 |
| GY | 企标 |
| LG | 流量节流装置 |
| 代号 | 取压方式 |
| H | 角接环室取压 |
| Z | 角接钻孔取压 |
| F | 法兰取压 |
| J | 径距取压 |
| 代号 | 节流装置说明 |
| K | 标准孔板 |
| 代号 | 公称压力 |
| -0.6 | 0.6 |
| -1 | 1 |
| -1.6 | 1.6 |
| -2.5 | 2.5 |
| 代号 | 公称口径 |
| DN10 | DN10~DN50(螺纹、法兰) |
| DN50 | DN50~DN800(法兰) |
| 代号 | 法兰材质 |
| C | 碳钢 |
| P | 不锈钢 |
| H | 合金钢 |
| 代号 | 介质 |
| 1 | 液体 |
| 2 | 气体 |
| 3 | 蒸汽 |
| 代号 | 附件 |
| N | 不含附件 |
| F | 配三阀组等 |
| I | 配含F及变送器(附件根据介质、要求选配) |
| DC | 配含F及多参量变送器 |
| O | 用户指定配置附件 |
七、安装与使用注意事项
1、核准参数:安装前务必先核准现场工况条件,确认节流装置计算书的所有参数与安装点工况条件参数完全相同后,才可进行安装,否则必须进行必要的修正或补偿。
2、方向:节流装置的孔板提柄上或法兰外圆面上分别有“+”、“-”号,“+“为上游侧(迎着流体过来的方向),不得装反。
3、插入深度:环室取压孔板,插入深度为管道与环室之间距离为2~5mm,但不能将管道顶到环室,否则管道受热膨胀便会顶坏环室。钻孔取压孔板,突入孔板内的管道,任何一点不得挡住取压孔。
4、系统吹扫:节流装置安装完毕既应吹扫,此时应先将节流件(孔板片)拆下,以免管道内杂物刮伤孔板片或堵塞引压管,待吹扫完成后再装好,方向为流体流动方向与孔板上的箭头同向。注意拧紧以保证密封。
5、调零:吹扫安装完成后,将三阀组中间阀开启,此时差压值应为零,如果不是,就必须要归零,方法是按住左下角按键不动20秒钟,松开后即可。
6、最后将三阀组中间阀慢慢关闭(必须关严),正负引压管上部的截止阀全部开启,孔板即可正常工作。
7、安装同轴度要求:节流件与管道必须同心,偏心距离不大于0.0025D,用户在焊接操作时应予注意或采取必要的措施。
8、孔板一般都要配合差压变送器使用,导压管与差压变送器连接时要注意正负压不要装反,“H”为正,“L”为负;
9、正负取压口引出的导压管在任何情况下都要保持平行;
10、如必须装调节阀,则建议最好把调节阀装在下游计算书上要求的直管段长度之后。
11、被测介质为气体或蒸汽且温度和(或)压力有较大波动时,应进行温度和(或)压力补偿。压力变送器装设在上游1D处,热电偶装设在下游1D处。
12、在差压讯号管线上不得有可能积留液体或气体的袋形空间,如不能避免时,应装设集气器(或排气阀)和沉降器(或疏水器)。
13、变送器零点漂移也会引起测量误差,使用过程中应定期对差压变送器进行校准。
14、除须经常对导压管进行检查,以防堵塞外,对室外的导压管应予适当保温,以防凝固或冻结。如管线(垂直段)相当长,应避免由于温差导致的虚假压差,此时建议把两根差压管线靠近敷设并一起包在保温层内。
15、差压管线应有支架,以避免振动和有力作用在差压计上。
16、节流装置现场吊装时,严禁用铁丝、钢丝、吊钩穿入节流件喉部孔径,以防止锐口损伤,影响精度;
17、节流装置使用一段时间后,由于液体中有固体颗粒,气体中有液体小滴或其它杂质,尖锐的入口将被磨钝,从而使流出系数增大,造成附加误差,此时应考虑调换节流件;另外,节流装置长期使用后,在孔板上游侧下角容易堆积污物,这会使流出系数变化,因此要定期检查,排除污物。
18、导压管:导压管的材质应按被测介质的性质和参数而定,其内径过小和长度太长会使信号严重滞后或失真,建议参照表(一)确定。
表(一) 导压管的内径和长度
19、不同介质安装位置选择:
气体取压口最好在管道上部;液体取压口在侧面以下,但不要在正下方,沉积颗粒会堵塞取压口;蒸汽的取压口在管道侧面;如下图:
一、在水平管道上的安装要求
1、如图4和5所示:测量液体和水蒸汽介质流量时,取压管口最佳安装角度为0°和180°;如果在0°和180°不可能安装时,可在0°~60°和120°~180°范围内选择。但差压变送器必须垂直安装在三阀组的垂直端面上。
2、如图6所示:测量气体介质流量时,取压管口最佳安装角度为270°,如果在270°不可能安装时,可在210°~270°和270°~330°范围内安装。但差压变送器必须水平安装在三阀组顶水平面上。
二、在垂直管道上安装要求
1、图7所示:在水蒸汽和液体介质流量测量时,差压变送器安装在垂直管道低端取压口一侧,且垂直安装在低於取压口的三阀组板垂直端面。
2、如图8所示:在气体介质流量测量时,差压变送器安装在垂直管道高端取压口一侧,且水平安装在高於取压口的三阀组板水平端面上。八、一体化节流装置
一体化节流装置是由流量计生产厂家按照用户的要求将节流装置与截止阀、冷凝器(或冷凝圈)、引压管、三阀组和差压变送器组装在一起。货到只需将其法兰与管道焊接和接入差压变送器电缆即可投入使用。其结构与组成示意图见图9。
图9 